GP21  GP21 rewireable cord plug for 400 VDC systems up to 2.6 kW
GP21 rewireable cord plug for 400 VDC systems up to 2.6 kW

Series

GP21

IEC Plug 400 VDC, Rewireable, Straight, max. Cable Diameter 9.2 mm

New_Logo Free Sample Request

Connectors (Inlets/Outlets)

Standard Sheet 2
Connector Logo
 

Description

  • Plug (rewireable): Screw-on mounting
  • Plug,, Protection class I
  • Wire size 0.75-1.5mm², 18AWG-16AWG
  • Cable diameter 6.4 - 9.2 mm

Unique Selling Proposition

  • Standard form acc. to IEC TS 62735-1
  • Hot plug rated for disconnecting under loads up to 2.6 kW
  • Ideal for compact PDU applications with an operating temperature up to 105 °C

Ratings IEC

Ratings IEC


The electrical characteristics describe the approved operating values for the state of rated current and rated voltage considering the mentioned conditions.
General information on electrical characteristics colors of fuses
Ratings IEC, UL/CSA General information on the rated current and the rated voltage at EMC products
Rated Voltage Rated current The values are different depending on the approval body and therefore are referenced in the corresponding admission cards for the respective product families. Details about the approvals and ratings are listed in the data sheets.
Search approval information for different families
Approvals

6.5 - 8.8 A / 400 - 294 VDC

max. 2.6 kW power 

Dielectric Strength

Dielectric Strength


Information about the maximum permissible voltage, to avoid a voltage breakdown due to insulation damage.
Dielectric Strength

> 3 kVDC between + and -
> 3 kVDC between +/- and PE
(1 min)

Allowable Operation Temperature

-5 °C to 105 °C

Terminal

Terminals


Terminals according IEC Standard.
Detailed information about terminals can be looked up in the date sheet or in the general product information.
Terminal

Screw terminal

Material: Housing

Thermoplastic, black, UL 94V-0

Appliance inlet/-outlet

Appliance inlet/-outlet


Connector type according to IEC 60320-1 resp. IEC 60320-2-2, UL498, CSA C22.2 no.42
Details on connectors and their names can be found in the general product information
Appliance Couplers Mating Connectors Term explanation Special Connector Designs

Standard Sheet 2 acc. to IEC TS 62735-1
  Protection Class I , ± 200 VDC

Detailed information on product approvals, code requirements, usage instructions and detailed test conditions can be looked up in  Details about Approvals
SCHURTER products are designed for use in industrial environments. They have approvals from independent testing bodies according to national and international standards. Products with specific characteristics and requirements such as required in the automotive sector according to IATF 16949, medical technology according to ISO 13485 or in the aerospace industry can be offered exclusively with customer-specific, individual agreements by SCHURTER.


Approvals

The approval mark is used by the testing authorities to certify compliance with the safety requirements placed on electronic products.


Approval Reference Type: GP21

Approval Logo Certificates Certification Body Description
Approval marks VDE VDE VDE Certificate Number: 40051172
Approval marks UR UL UR File Number: E502317


Product standards

Product standards that are referenced

Organization Design Standard Description
Approval marks IEC_Certification_Body Designed according to IEC TS 62735-1 Appliance couplers for household and similar general purposes
Approval marks UL Designed according to UL Subject 2695 Outline for DC rated Attachment Plugs and Outlet Devices for ICT Equipment installed in restricted access locations


Application standards

Application standards where the product can be used

Organization Design Standard Description
Approval marks IEC_Certification_Body Suitable for applications acc. IEC/UL 62368-1 Audio/video, information and communication technology equipment - Part 1: Safety requirements


Compliances

The product complies with following Guide Lines

Identification Details Initiator Description
Environment_Safety RoHS_Logo_color_CMYK_tif SCHURTER AG Directive RoHS 2011/65/EU, Amendment (EU) 2015/863
Environment_Safety China_RoHS_e_konform_eps SCHURTER AG The law SJ / T 11363-2006 (China RoHS) has been in force since 1 March 2007. It is similar to the EU directive RoHS.
Environment_Safety Halogenfree SCHURTER AG SCHURTER strives to offer our customers halogen free products.
Environment_Safety REACH SCHURTER AG On 1 June 2007, Regulation (EC) No 1907/2006 on the Registration, Evaluation, Authorization and Restriction of Chemicals 1 (abbreviated as "REACH") entered into force.

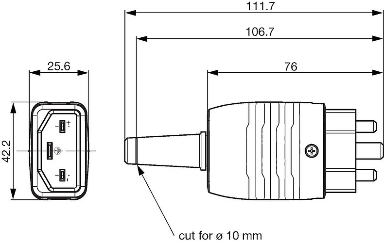
Dimensions [mm]


Short Table of Variants GP21 Open complete table GP21

Color Max. cable diameter Max. wire size Order Number
Symbols, Footprints, 3D-Models Free Sample

Free Sample


Please ask for free sample in order to check if the products meets your requirement for your application.
Send your delivery adress and your specific requirements.

Distributor Stock Check

Distributor Stock Check


The following links refers to the inquiry form for distributors stock information of the selected products. It allows checking for the available amount and optionally to place an order at your selected partner.
The stock availability at the distributors may also be called up separately and the desired product manually entered.
Stock Check Distributor

...
 
black 9.2 mm 3 x 1.5 mm² / 3 x 16 AWG 3-101-786 ...

Max. torque for screws: Terminals: 0.5 Nm, Cable clamps: 0.5 Nm, Cover: 0.3 Nm

Packaging unit 50 Pcs 

020072010000004001
LOADING...
Mating Outlets/Connectors (1)

[Swipe to the left and right for more options]

GS21

IEC Socket-Outlet 400 VDC, Snap-in Mounting, Front Side, Quick-connect or PCB Terminals


01.09.2025
   
en prod By changing the catalog version (Desktop <> Mobile), the system is resetting the chosen filters